Home > Potentiometers > Wire Wound Rotary > WR-40 Series  

WR-40 Series

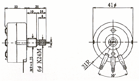
Features       
bulletRated Power 15W
bulletResistance Range 5 - 5K Ohms   
bulletResistance Tolerance 20%
bulletRotation 300 Degrees 5%
bulletLinear Taper

Shokai Far East Ltd. 9 Elena Court  Cortlandt Manor NY 10567 914-736-3500 Fax: 914-736-3656 
E-mail: sales@shokaifareast.com   http://www.shokaifareast.com